
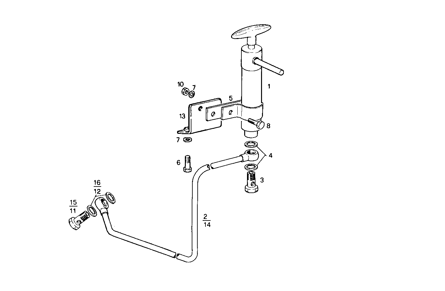
7675i15.05 — 7675i15
| # | Part No | Name / Description | Qty | Action |
|---|---|---|---|---|
| 1 | 8019921 | HAND PUMP HAND PUMP | 1 | |
| 2 | 8014201 | OIL LINE OIL LINE | 1 | |
| 3 | 4864084 | BANJO BOLT BANJO BOLT | 1 | |
| 4 | 4858609 | WASHER WASHER | 2 | |
| 5 | 4934636 | CLIP CLIP | 1 | |
| 6 | 8014502 | SCREW SCREW | 2 | |
| 7 | 17090174 | SPRING WASHER SPRING WASHER | 4 | |
| 8 | 16607624 | SCREW SCREW | 2 | |
| 10 | 17038121 | HEXAGON NUT HEXAGON NUT | 2 | |
| 11 | 8014203 | PIPE SOCKET PIPE SOCKET | 1 | |
| 12 | 98429280 | SEAL GASKET SEAL GASKET | 2 | |
| 13 | 8015207 | RETAINER RETAINER | 1 | |
| 14 | 8021346 | OIL LINE OIL LINE | 1 | |
| 15 | 4864085 | SCREW CONNECTOR SCREW CONNECTOR | 1 | |
| 16 | 4858610 | WASHER WASHER | 2 |