
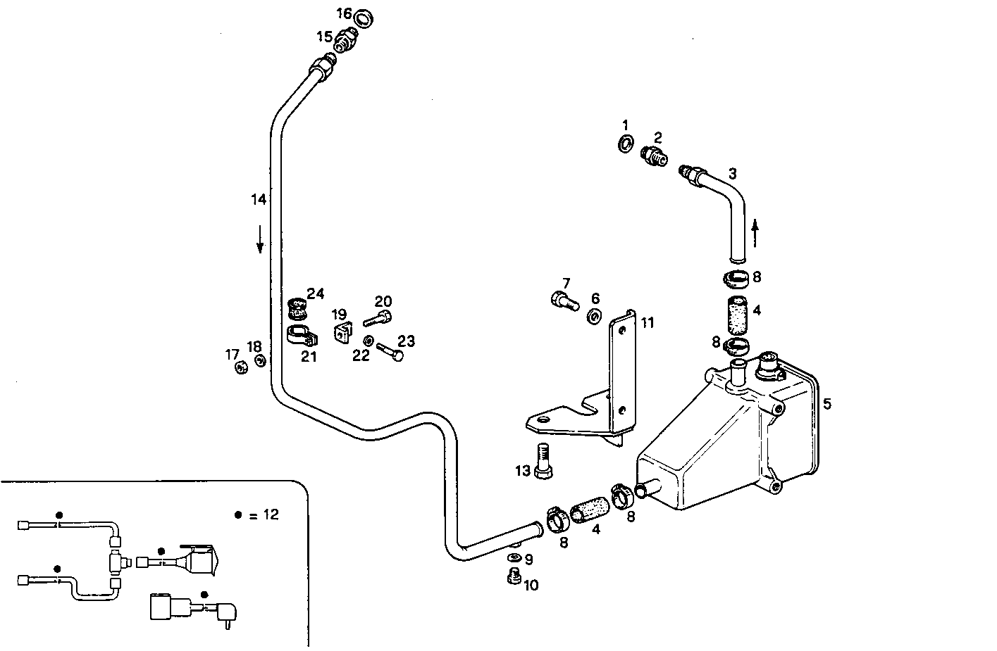
8031i05.05 — 8031i05
| # | Part No | Name / Description | Qty | Action |
|---|---|---|---|---|
| 1 | 98429280 | SEAL GASKET SEAL GASKET | 1 | |
| 2 | 4741602 | THREADED UNION THREADED UNION | 1 | |
| 3 | 8014775 | WATER PIPE WATER PIPE | 1 | |
| 4 | 8109346 | RUBBER SLEEVE RUBBER SLEEVE | 2 | |
| 5 | 8008375 | HEATER HEATER | 1 | |
| 6 | 17088474 | WASHER WASHER | 2 | |
| 7 | 10902121 | HEXAGON BOLT HEXAGON BOLT | 2 | |
| 8 | 17764592 | CLIP CLIP | 4 | |
| 9 | 4858605 | WASHER WASHER | 1 | |
| 10 | 10300911 | PLUG PLUG | 1 | |
| 11 | 8015431 | SUPPORT SUPPORT | 1 | |
| 12 | 8009376 | WIRE/CABLE WIRE/CABLE | 1 | |
| 13 | 11234721 | HEXAGON BOLT HEXAGON BOLT | 2 | |
| 14 | 8014787 | WATER PIPE WATER PIPE | 1 | |
| 15 | 8012712 | PIPE SOCKET PIPE SOCKET | 1 | |
| 16 | 10263460 | WASHER WASHER | 1 | |
| 17 | 17037931 | HEXAGON NUT HEXAGON NUT | 1 | |
| 18 | 17089474 | SPRING WASHER SPRING WASHER | 1 | |
| 19 | 8100819 | RETAINER RETAINER | 1 | |
| 20 | 16605524 | HEXAGON BOLT HEXAGON BOLT | 1 | |
| 21 | 4763804 | FASTENING BRACKET FASTENING BRACKET | 1 | |
| 22 | 17091074 | WASHER WASHER | 1 | |
| 23 | 16609824 | HEXAGON BOLT HEXAGON BOLT | 1 | |
| 24 | 4757122 | RUBBER PAD RUBBER PAD | 1 |