
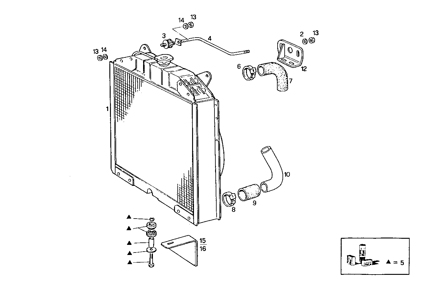
8035E00.00A800 — 8035E00
| # | Part No | Name / Description | Qty | Action |
|---|---|---|---|---|
| 1 | 8007472 | WATER RADIATOR WATER RADIATOR | 1 | |
| 2 | 17089774 | SPRING WASHER SPRING WASHER | 4 | |
| 3 | 4927882 | RUBBER PAD RUBBER PAD | 4 | |
| 4 | 8023991 | TIE ROD TIE ROD | 2 | |
| 5 | 8090341 | KIT-RADIATOR KIT-RADIATOR | 1 | |
| 6 | 17764891 | CLIP CLIP | 2 | |
| 7 | 8026743 | RUBBER SLEEVE RUBBER SLEEVE | 1 | |
| 8 | 17764791 | CLIP CLIP | 2 | |
| 9 | 596152 | RUBBER SLEEVE RUBBER SLEEVE | 1 | |
| 10 | 8077105 | WATER PIPE WATER PIPE | 1 | |
| 12 | 8023950 | SUPPORT SUPPORT | 1 | |
| 13 | 17037931 | HEXAGON NUT HEXAGON NUT | 8 | |
| 14 | 17089474 | SPRING WASHER SPRING WASHER | 4 | |
| 15 | 8104250 | SUPPORT SUPPORT | 1 | |
| 16 | 8104274 | SUPPORT SUPPORT | 1 |