
8061i06.05 — 8061i06
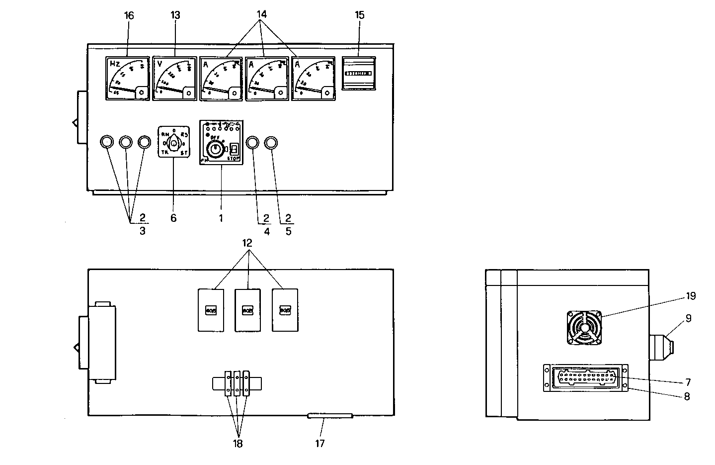
| # | Part No | Name / Description | Qty | Action |
|---|---|---|---|---|
| 1 | 8092698 | ELECTRONIC CARD ELECTRONIC CARD | 1 | |
| 2 | 8092826 | FUSE BOX FUSE BOX | 5 | |
| 3 | 8105268 | FUSE FUSE | 3 | |
| 4 | 8092823 | FUSE FUSE | 1 | |
| 5 | 8111008 | FUSE FUSE | 1 | |
| 6 | 8104624 | SWITCH SWITCH | 1 | |
| 7 | 8092825 | CONNECTION CONNECTION | 1 | |
| 8 | 8092824 | CONTAINER CONTAINER | 1 | |
| 9 | 8093321 | CLAMP CLAMP | 1 | |
| 12 | 8090908 | TRANSFORMATOR TRANSFORMATOR | 3 | |
| 13 | 8109465 | VOLTMETER VOLTMETER | 1 | |
| 14 | 8090906 | AMMETER AMMETER | 3 | |
| 15 | 8090251 | HOURMETER HOURMETER | 1 | |
| 16 | 8109466 | FREQUENCYMETER FREQUENCYMETER | 1 | |
| 17 | 8113214 | INSULATING RING INSULATING RING | 1 | |
| 18 | 8104649 | CLAMP CLAMP | 3 | |
| 19 | 8107950 | ACOUSTIC HORN ACOUSTIC HORN | 1 |