
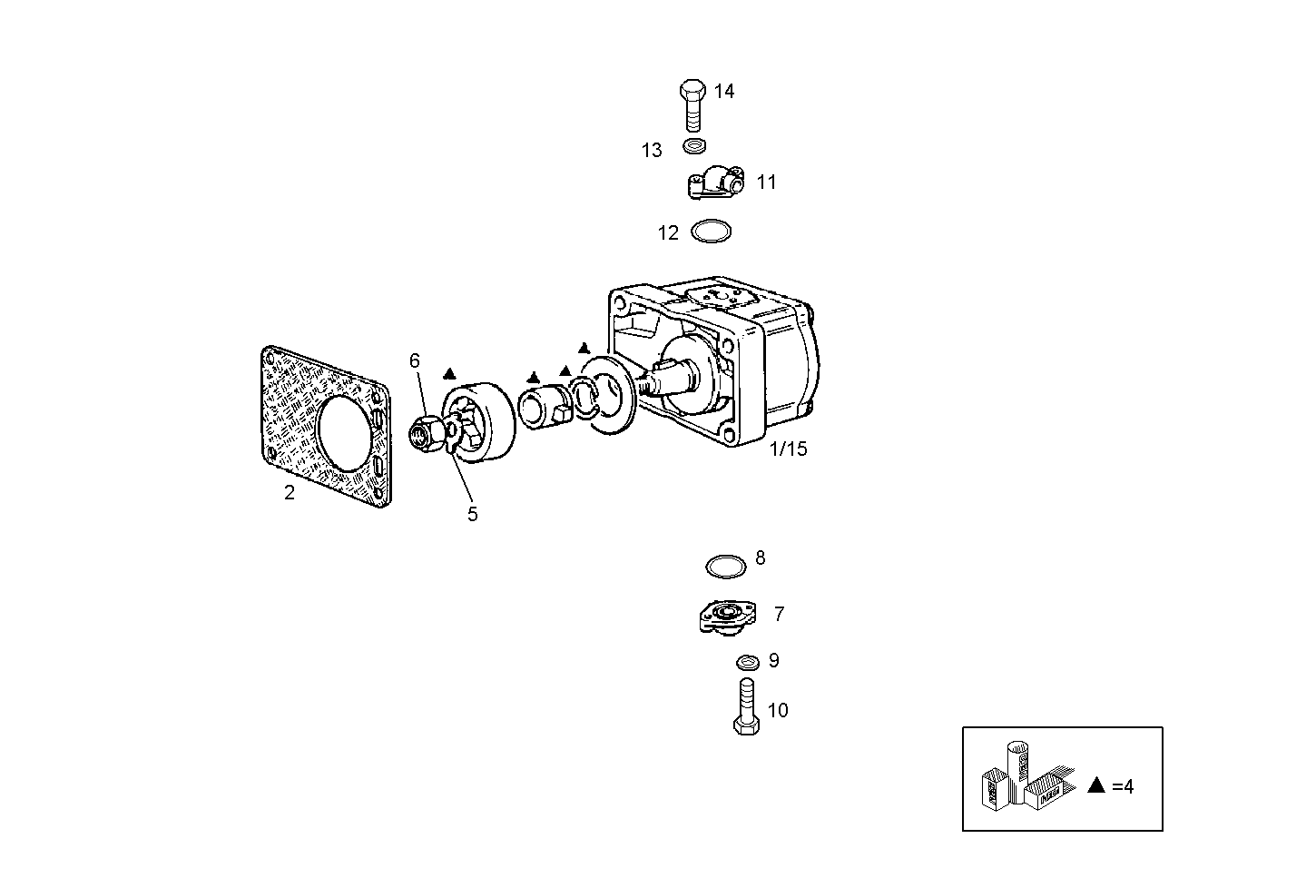
8140SRC31.35A001- 1C — 8140SRC31
| # | Part No | Name / Description | Qty | Action |
|---|---|---|---|---|
| 1 | 8028048 | OIL PUMP-STEERING OIL PUMP-STEERING | 1 | |
| 2 | 500310543 | FLAT ENGINE GKT FLAT ENGINE GKT | 1 | |
| 3 | 16690824 | CYLIND-HEAD SCREW CYLIND-HEAD SCREW | 4 | |
| 4 | 8090343 | KIT-HYDRAULIC PUMP KIT-HYDRAULIC PUMP | 1 | |
| 5 | 8273920 | WASHER WASHER | 1 | |
| 6 | 8273919 | NUT NUT | 1 | |
| 7 | 4670953 | PIPE SOCKET PIPE SOCKET | 1 | |
| 8 | 17281781 | O-RING O-RING | 1 | |
| 9 | 17088474 | WASHER WASHER | 2 | |
| 10 | 16689424 | SOCKET-HEAD SCREW SOCKET-HEAD SCREW | 2 | |
| 11 | 4690715 | PIPE SOCKET PIPE SOCKET | 1 | |
| 12 | 17282181 | O-RING O-RING | 1 | |
| 13 | 17089474 | SPRING WASHER SPRING WASHER | 2 | |
| 14 | 16690824 | CYLIND-HEAD SCREW CYLIND-HEAD SCREW | 2 | |
| 15 | 8037906 | OIL PUMP-STEERING OIL PUMP-STEERING | 1 |