
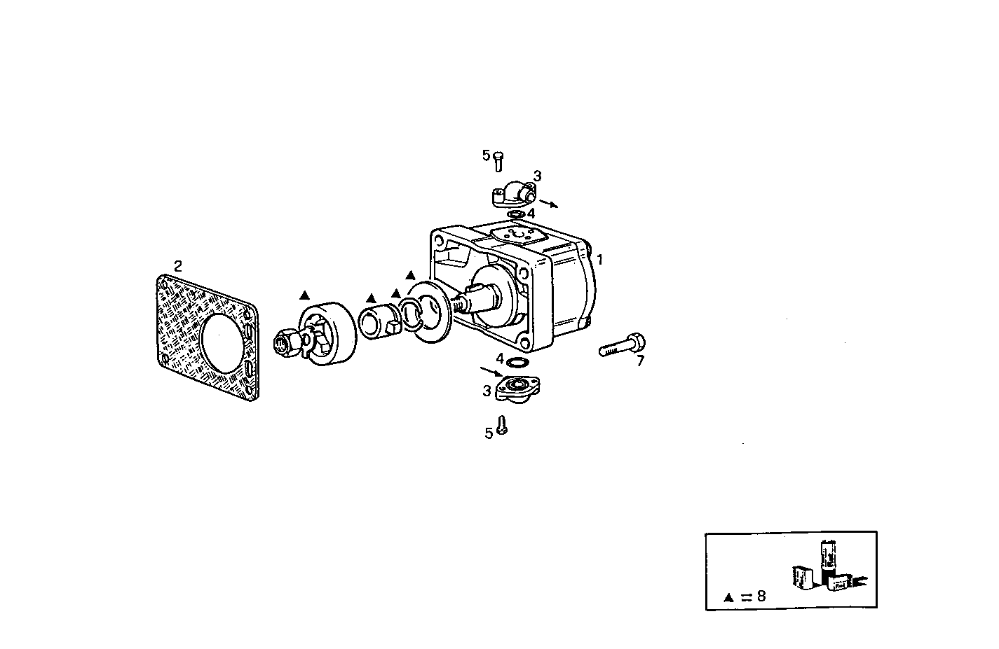
8141SRC20.00 — 8141SRC20
| # | Part No | Name / Description | Qty | Action |
|---|---|---|---|---|
| 1 | 8026794 | HYDRAULIC PUMP HYDRAULIC PUMP | 1 | |
| 2 | 500310543 | FLAT ENGINE GKT FLAT ENGINE GKT | 1 | |
| 3 | 4670953 | PIPE SOCKET PIPE SOCKET | 2 | |
| 4 | 17281781 | O-RING O-RING | 2 | |
| 5 | 16689424 | SOCKET-HEAD SCREW SOCKET-HEAD SCREW | 4 | |
| 7 | 16690824 | CYLIND-HEAD SCREW CYLIND-HEAD SCREW | 4 | |
| 8 | 8090343 | KIT-HYDRAULIC PUMP KIT-HYDRAULIC PUMP | 1 | |
| 21 | 4864080 | SCREW CONNECTOR SCREW CONNECTOR | 1 |