
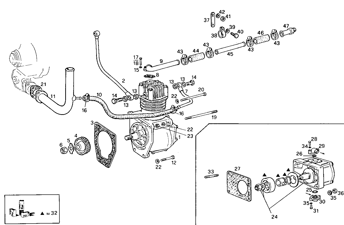
8210SRi10.00 — 8210SRi10
| # | Part No | Name / Description | Qty | Action |
|---|---|---|---|---|
| 1 | 99440226 | AIR COMPRESSOR AIR COMPRESSOR | 1 | |
| 2 | 8012904 | PLUG PLUG | 1 | |
| 3 | 4710288 | FLAT ENGINE GKT FLAT ENGINE GKT | 1 | |
| 4 | 4710274 | COMP. DRIVE GEAR COMP. DRIVE GEAR | 1 | |
| 5 | 4709364 | LOCKING PLATE LOCKING PLATE | 1 | |
| 6 | 99471892 | HEXAGON NUT HEXAGON NUT | 1 | |
| 7 | 4723050 | LINE LINE | 1 | |
| 8 | 4513714 | GASKET GASKET | 1 | |
| 9 | 8114247 | AIR PIPE/DUCT AIR PIPE/DUCT | 1 | |
| 10 | 4787287 | WATER HOSE WATER HOSE | 1 | |
| 11 | 98450706 | WATER PIPE WATER PIPE | 1 | |
| 12 | 11234721 | HEXAGON BOLT HEXAGON BOLT | 2 | |
| 13 | 4858609 | WASHER WASHER | 4 | |
| 14 | 4864084 | BANJO BOLT BANJO BOLT | 2 | |
| 15 | 11194079 | SPRING WASHER SPRING WASHER | 2 | |
| 16 | 12173690 | CLIP CLIP | 2 | |
| 17 | 15001324 | HEXAGON BOLT HEXAGON BOLT | 1 | |
| 18 | 15000824 | HEXAGON BOLT HEXAGON BOLT | 1 | |
| 19 | 13953721 | STUD STUD | 1 | |
| 20 | 98434330 | HEXAGON BOLT HEXAGON BOLT | 1 | |
| 21 | 4864028 | FLAT ENGINE GKT FLAT ENGINE GKT | 1 | |
| 22 | 11198379 | SPRING WASHER SPRING WASHER | 4 | |
| 23 | 12164711 | HEXAGON NUT HEXAGON NUT | 1 | |
| 24 | 5120406 | HYDRAULIC PUMP HYDRAULIC PUMP | 1 | |
| 25 | 4503785 | WASHER WASHER | 1 | |
| 26 | 568170 | O-RING O-RING | 1 | |
| 27 | 4850986 | FLAT ENGINE GKT FLAT ENGINE GKT | 1 | |
| 28 | 14305521 | SCREW SCREW | 2 | |
| 29 | 4670953 | PIPE SOCKET PIPE SOCKET | 1 | |
| 30 | 4690715 | PIPE SOCKET PIPE SOCKET | 1 | |
| 31 | 14306621 | SCREW SCREW | 2 | |
| 32 | 8090343 | KIT-HYDRAULIC PUMP KIT-HYDRAULIC PUMP | 1 | |
| 33 | 10980821 | STUD STUD | 4 | |
| 34 | 11198079 | SPRING WASHER SPRING WASHER | 2 | |
| 35 | 11197779 | SPRING WASHER SPRING WASHER | 6 | |
| 36 | 15896211 | HEXAGON NUT HEXAGON NUT | 4 | |
| 37 | 8114264 | RETAINER RETAINER | 2 | |
| 38 | 4760226 | FASTENING BRACKET FASTENING BRACKET | 2 | |
| 39 | 11193879 | SPRING WASHER SPRING WASHER | 2 | |
| 40 | 16043221 | HEXAGON BOLT HEXAGON BOLT | 2 | |
| 41 | 12164711 | HEXAGON NUT HEXAGON NUT | 2 | |
| 42 | 11190679 | SPRING WASHER SPRING WASHER | 2 | |
| 43 | 12176990 | CLIP CLIP | 4 | |
| 44 | 4605529 | RUBBER SLEEVE RUBBER SLEEVE | 1 | |
| 45 | 8114248 | AIR PIPE/DUCT AIR PIPE/DUCT | 1 | |
| 46 | 4724973 | RUBBER SLEEVE RUBBER SLEEVE | 1 | |
| 47 | 4734507 | THREADED UNION THREADED UNION | 1 |