
8361SI10.00A801 — 8361SI10
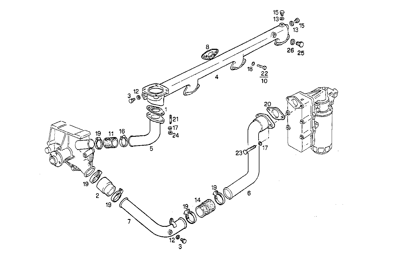
| # | Part No | Name / Description | Qty | Action |
|---|---|---|---|---|
| 1 | 98412227 | GASKET GASKET | 1 | |
| 2 | 98433325 | WATER HOSE WATER HOSE | 1 | |
| 3 | 10305101 | PLUG PLUG | 1 | |
| 4 | 4726340 | WATER PIPE WATER PIPE | 1 | |
| 5 | 4733010 | INTAKE ELBOW INTAKE ELBOW | 1 | |
| 6 | 98425143 | WATER PIPE WATER PIPE | 1 | |
| 7 | 4733185 | WATER PIPE WATER PIPE | 1 | |
| 8 | 98412317 | GASKET GASKET | 4 | |
| 11 | 98432897 | WATER HOSE WATER HOSE | 1 | |
| 12 | 10263460 | WASHER WASHER | 1 | |
| 13 | 4858609 | WASHER WASHER | 2 | |
| 14 | 98433328 | WATER HOSE WATER HOSE | 1 | |
| 15 | 16992411 | THREADED PLUG THREADED PLUG | 2 | |
| 16 | 17764992 | CLIP CLIP | 1 | |
| 17 | 17089574 | WASHER WASHER | 4 | |
| 18 | 17090174 | SPRING WASHER SPRING WASHER | 7 | |
| 19 | 17764892 | PIPE CLIP PIPE CLIP | 5 | |
| 20 | 98412396 | GASKET GASKET | 1 | |
| 21 | 16729424 | STUD STUD | 2 | |
| 22 | 15004021 | HEXAGON BOLT HEXAGON BOLT | 7 | |
| 23 | 16607024 | HEXAGON BOLT HEXAGON BOLT | 2 | |
| 24 | 17037931 | HEXAGON NUT HEXAGON NUT | 2 | |
| 25 | 10304911 | THREADED PLUG THREADED PLUG | 1 | |
| 26 | 98429280 | SEAL GASKET SEAL GASKET | 1 |