
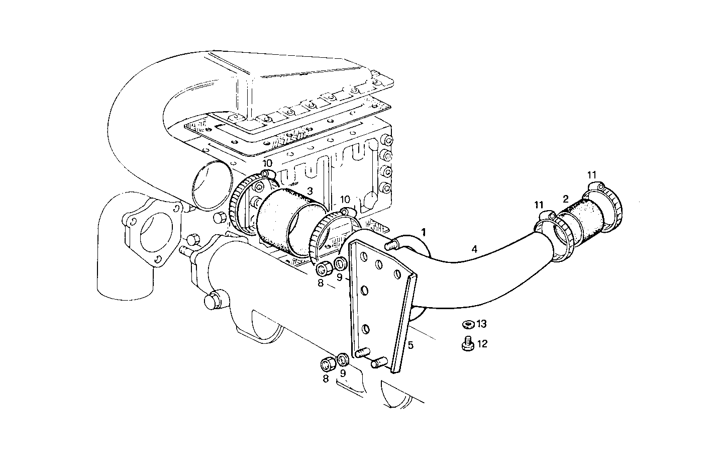
8361SRE10.00A004 — 8361SRE10
| # | Part No | Name / Description | Qty | Action |
|---|---|---|---|---|
| 1 | 8105962 | YOKE YOKE | 1 | |
| 2 | 8107383 | RUBBER SLEEVE RUBBER SLEEVE | 1 | |
| 3 | 8112612 | RUBBER SLEEVE RUBBER SLEEVE | 1 | |
| 4 | 8109608 | AIR MANIFOLD AIR MANIFOLD | 1 | |
| 5 | 8105961 | RETAINER RETAINER | 1 | |
| 8 | 17037931 | HEXAGON NUT HEXAGON NUT | 4 | |
| 9 | 17089774 | SPRING WASHER SPRING WASHER | 4 | |
| 10 | 4788410 | CLIP CLIP | 2 | |
| 11 | 17765091 | CLIP CLIP | 2 | |
| 12 | 11903111 | LOCK PLUG LOCK PLUG | 1 | |
| 13 | 4858606 | GASKET GASKET | 1 |