
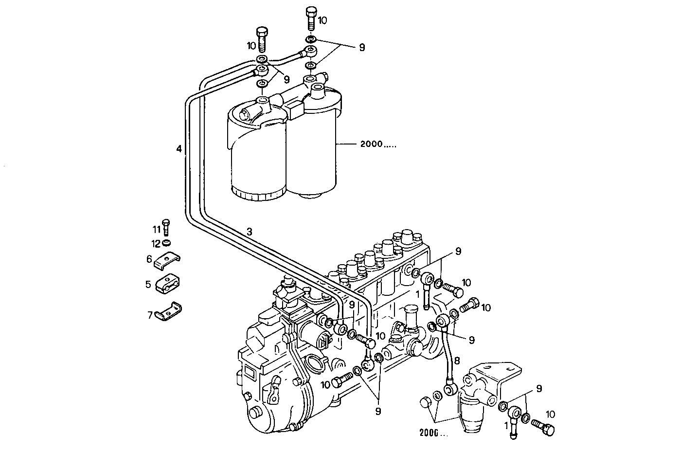
8361SRE10.00A800 — 8361SRE10
| # | Part No | Name / Description | Qty | Action |
|---|---|---|---|---|
| 1 | 98404882 | PIPE SOCKET PIPE SOCKET | 2 | |
| 3 | 98429677 | FUEL LINE FUEL LINE | 1 | |
| 4 | 98429692 | FUEL LINE FUEL LINE | 1 | |
| 5 | 4871771 | RUBBER PAD RUBBER PAD | 1 | |
| 6 | 4871773 | RETAINER RETAINER | 1 | |
| 7 | 4871774 | RETAINER RETAINER | 1 | |
| 8 | 8010748 | FUEL LINE FUEL LINE | 1 | |
| 9 | 4858608 | SEAL GASKET SEAL GASKET | 14 | |
| 10 | 4864083 | SCREW CONNECTOR SCREW CONNECTOR | 7 | |
| 11 | 16603824 | SCREW SCREW | 1 | |
| 12 | 17088474 | WASHER WASHER | 1 |