
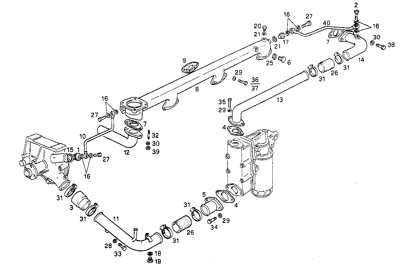
8361SRi11.05 — 8361SRi11
| # | Part No | Name / Description | Qty | Action |
|---|---|---|---|---|
| 1 | 4934984 | PLUG PLUG | 1 | |
| 2 | 8009696 | SCREW CONNECTOR SCREW CONNECTOR | 1 | |
| 3 | 98432897 | WATER HOSE WATER HOSE | 1 | |
| 4 | 98412396 | GASKET GASKET | 2 | |
| 5 | 4936216 | WATER PIPE WATER PIPE | 1 | |
| 6 | 4595833 | THREADED PLUG THREADED PLUG | 1 | |
| 7 | 98412227 | GASKET GASKET | 2 | |
| 8 | 4726340 | WATER PIPE WATER PIPE | 1 | |
| 9 | 98412317 | GASKET GASKET | 4 | |
| 10 | 8012512 | WATER PIPE WATER PIPE | 1 | |
| 11 | 8106109 | WATER PIPE WATER PIPE | 1 | |
| 12 | 8107512 | WATER PIPE WATER PIPE | 1 | |
| 13 | 8106102 | WATER PIPE WATER PIPE | 1 | |
| 14 | 8106101 | WATER PIPE WATER PIPE | 1 | |
| 15 | 10265160 | SEAL GASKET SEAL GASKET | 1 | |
| 16 | 4858607 | WASHER WASHER | 8 | |
| 17 | 8113358 | PIPE SOCKET PIPE SOCKET | 1 | |
| 18 | 10298460 | SEAL GASKET SEAL GASKET | 1 | |
| 19 | 16992211 | THREADED PLUG THREADED PLUG | 1 | |
| 20 | 10305171 | PLUG PLUG | 2 | |
| 21 | 16508460 | WASHER WASHER | 3 | |
| 25 | 10257460 | SEAL GASKET SEAL GASKET | 1 | |
| 26 | 10138787 | RUBBER SLEEVE RUBBER SLEEVE | 2 | |
| 27 | 4864082 | BANJO BOLT BANJO BOLT | 3 | |
| 28 | 11190579 | SPRING WASHER SPRING WASHER | 1 | |
| 29 | 17090274 | WASHER WASHER | 9 | |
| 30 | 17089474 | SPRING WASHER SPRING WASHER | 2 | |
| 31 | 12174790 | CLIP CLIP | 6 | |
| 32 | 16729424 | STUD STUD | 2 | |
| 33 | 15970521 | HEXAGON BOLT HEXAGON BOLT | 1 | |
| 34 | 16045721 | HEXAGON BOLT HEXAGON BOLT | 2 | |
| 35 | 16043621 | HEXAGON BOLT HEXAGON BOLT | 2 | |
| 36 | 15004021 | HEXAGON BOLT HEXAGON BOLT | 7 | |
| 37 | 15971321 | HEXAGON BOLT HEXAGON BOLT | 1 | |
| 38 | 16043321 | HEXAGON BOLT HEXAGON BOLT | 1 | |
| 39 | 16100821 | HEXAGON NUT HEXAGON NUT | 2 | |
| 40 | 8012513 | WATER PIPE WATER PIPE | 1 |