
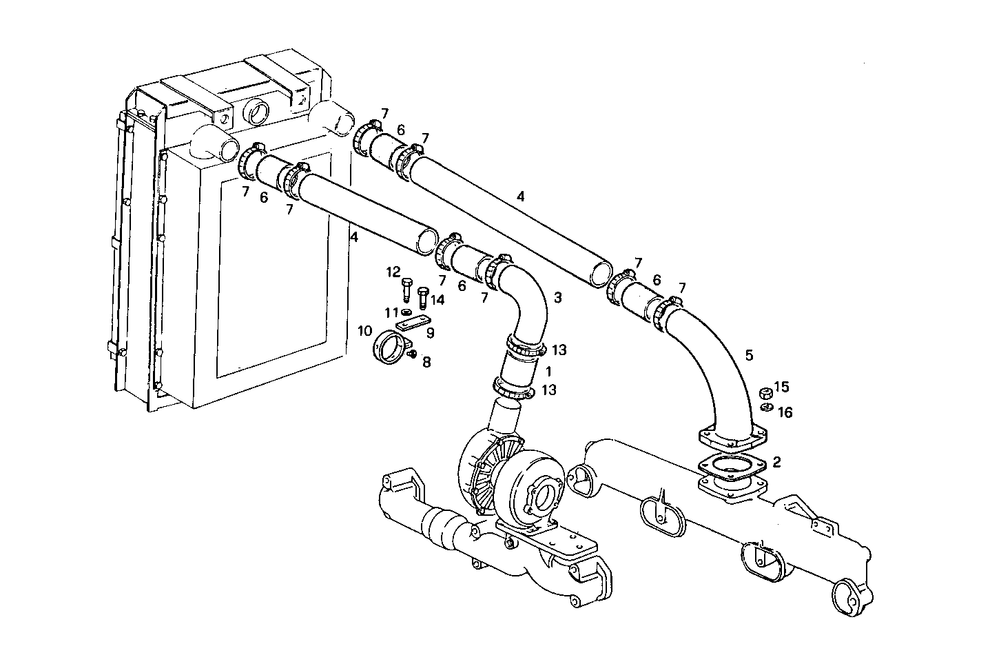
8361SRi25.00A580 — 8361SRi25
| # | Part No | Name / Description | Qty | Action |
|---|---|---|---|---|
| 1 | 4765377 | TURBOCHARGER HOSE TURBOCHARGER HOSE | 1 | |
| 2 | 98412100 | GASKET GASKET | 1 | |
| 3 | 8107648 | AIR MANIFOLD AIR MANIFOLD | 1 | |
| 4 | 8107645 | WATER PIPE WATER PIPE | 2 | |
| 5 | 8107649 | INTAKE ELBOW INTAKE ELBOW | 1 | |
| 6 | 8107383 | RUBBER SLEEVE RUBBER SLEEVE | 4 | |
| 7 | 17765092 | CLIP CLIP | 8 | |
| 8 | 4565875 | RUBBER PAD RUBBER PAD | 3 | |
| 9 | 8109298 | RETAINER RETAINER | 1 | |
| 10 | 4936328 | CLIP CLIP | 1 | |
| 11 | 17090174 | SPRING WASHER SPRING WASHER | 1 | |
| 12 | 16607624 | SCREW SCREW | 1 | |
| 13 | 98490783 | CLIP CLIP | 2 | |
| 14 | 11307030 | HEXAGON BOLT HEXAGON BOLT | 1 | |
| 15 | 17037931 | HEXAGON NUT HEXAGON NUT | 4 | |
| 16 | 17089474 | SPRING WASHER SPRING WASHER | 4 |