ALL
ENGINE
PARTS
by
Home
About Us
Contact
RFQ Cart
SUBBASE FOR GENERATOR UNIT — GE8041i06.55A905 Parts | All Engine Parts
GE8041i06
/
GE8041i06.55A905
/
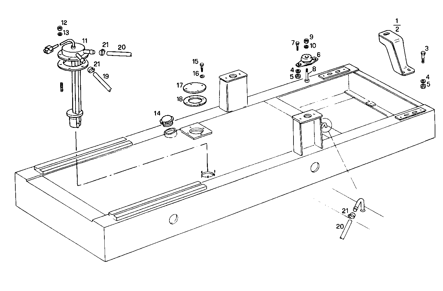
SUBBASE FOR GENERATOR UNIT
SUBBASE FOR GENERATOR UNIT
GE8041i06.55A905 — GE8041i06
Parts List
No identified parts for this diagram version.