
N67MNTX20.00A801 — NEF 6 mechanic. - TIER 3
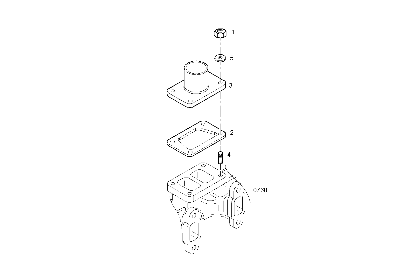
| # | Part No | Name / Description | Qty | Action |
|---|---|---|---|---|
| 1 | 4833663 | HEXAGON NUT HEXAGON NUT | 4 | |
| 2 | 4895133 | EXH. MANIFOLD GKT EXH. MANIFOLD GKT | 1 | |
| 3 | 8035419 | EXHAUST ELBOW EXHAUST ELBOW | 1 | |
| 4 | 16729424 | STUD STUD | 4 | |
| 5 | 17798274 | SPRING WASHER SPRING WASHER | 4 |