
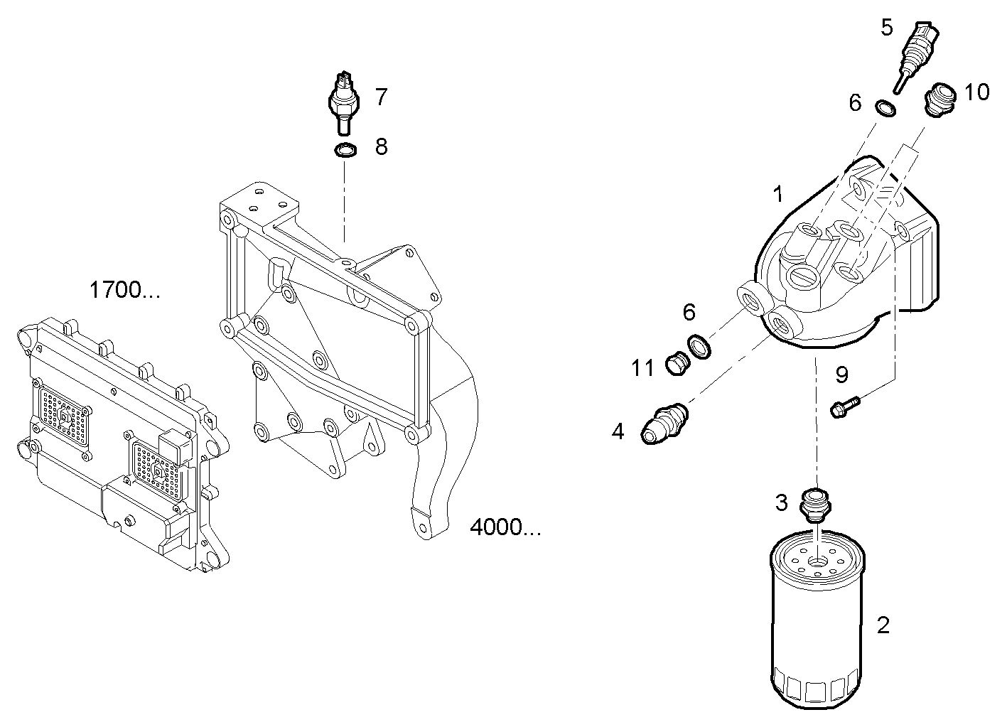
FVAE2885X*A100 — VECTOR 8
| # | Part No | Name / Description | Qty | Action |
|---|---|---|---|---|
| 1 | 504128483 | FUEL FILT.SUPPORT FUEL FILT.SUPPORT | 1 | |
| 2 | 504128471 | FUEL FILTER CARTRIDGE FUEL FILTER CARTRIDGE | 1 | |
| 3 | 504128553 | THREADED UNION THREADED UNION | 1 | |
| 4 | 500304562 | BREATHER PLUG BREATHER PLUG | 1 | |
| 5 | 500346074 | TRANSMITTER TRANSMITTER | 1 | |
| 6 | 99489019 | WASHER WASHER | 4 | |
| 7 | 504046224 | TEMP. TRANSMITTER TEMP. TRANSMITTER | 1 | |
| 8 | 504046225 | SEAL GASKET SEAL GASKET | 1 | |
| 9 | 16587425 | HEXAGON BOLT HEXAGON BOLT | 4 | |
| 10 | 16500315 | THREADED UNION THREADED UNION | 1 | |
| 11 | 16992415 | THREADED PLUG THREADED PLUG | 1 |